產品說明

母線式條形熔斷器底座
母線式熔斷器底座在母線系統中起承載與接觸熔斷器的作用,安裝熔斷體(熔芯),提供導電觸頭,承受分斷時的熱和力,便于熔芯更換。
訂貨信息
訂貨號:DN56236
型號:DNTF5-D02
系統:60 mm
適用導線:1.5 - 16 mm2
適用母線:12、15、20、25、30 × 5、 10 標準銅母線
適用熔斷器:D02
材料:PA6、DMC-II
產品信息
額定電壓(Ue):AC 400 V
額定電流 (Ie):63 A
約定發熱電流(Ith):63 A
額定限制短路電流(Iq):50 kA
額定絕緣電壓(Ui):800 V
額定沖擊耐受電壓 (Uimp):6 kV
額定頻率:50/60 Hz
適用條件

? 適配 60mm 母線系統
產品優勢

? 安裝便捷:無需對銅排鉆孔,掛接即完成安裝。
? 安全度高:全封閉結構實現全方位防觸摸保護。
? 結構緊湊:元件直接安裝,無需額外布線空間。
? 靈活擴展:可隨時增加、減少或調整元件位置。
? 美觀可靠:布線整齊劃一,內部結構邏輯嚴密。
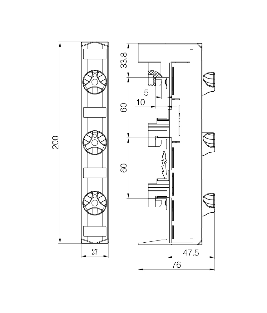
尺寸圖


文件下載
